|
|
||
|---|---|---|
| antlr | ||
| assest | ||
| grammar | ||
| include | ||
| src | ||
| test | ||
| .gitignore | ||
| CMakeLists.txt | ||
| README.md | ||
| main.cpp | ||
| test_all.sh | ||
README.md
环境
- x86 Debian GNU/Linux 12
- Python 3.11.2
- gcc version 12.2.2
- openJDK version "17.0.12"
- NASM version 2.16.01
- antlr complete & runtime Version: 4.9.3
- glog
请使用C++17以上标准
构建
mkdir build && cd build
cmake ..
make -j4
批量执行
bash test_all.sh
详细说明
- 可执行文件
LiteGoCompiler - 用法
./LiteGoCompiler /path/to/gofile
- 所需库
print.o负责向标准输出打印结果 - 源文件同级文件夹下生成中间产物
- out.asm 三地址中间代码
- out.o 二进制编译产物
- 目标可执行文件 out.bin
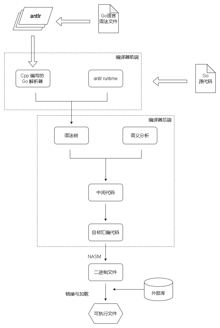
文件结构
.
├── antlr -------------------------- 存放 antlr jar 包和 runtime
│ └── antlr4-runtime
│
├── grammar ------------------------ 存放 Go 语言语法文件和 antlr 针对 Cpp 的解析结果
│ └── cpp
├── include ------------------------ 代码头文件
│ ├── Common
│ ├── ICG
│ │ └── StmtICG
│ ├── Public
│ └── TCG
│ └── SentenceTranslator
├── src ----------------------------- 源代码
│ ├── Common
│ ├── ICG
│ ├── Public
│ └── TCG
│ └── SentenceTranslator
└── test ---------------------------- 测试文件
